Rohrverbinder Temperguss | Befestigungsringe / Flansch
// {{ category.customFields.custom_categoryheadline_ }}
Filtro
-
Rohrverbinder
- Rohrverbinder Temperguss | T-Stücke
- Rohrverbinder Temperguss | Eckstücke
- Rohrverbinder Temperguss | Kreuzstücke
- Rohrverbinder Temperguss | Wandhalterungen / Fußplatten
- Rohrverbinder Temperguss | Handläufe
- Rohrverbinder Temperguss | Variabler Winkel
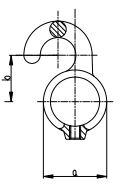
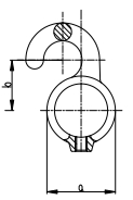
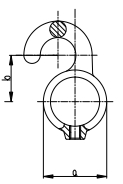
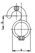
- Rohrverbinder Temperguss | Befestigungsringe / Flansch
- Rohrverbinder Temperguss | Gelenkstücke
- Rohrverbinder Temperguss | Verlängerungsstücke
- Rohrverbinder Temperguss | Wechselnder Durchmesser
- Rohrverbinder Temperguss | Zubehör
-
Edelstahlkomponenten
- Plattenhalter
- Glas- und Plattenhalter
- Glasklemmen
- Glasgeländer
- Glaspunkthalter
-
Edelstahlgeländer
- Abdeckrosetten | Pfostenabdeckung
- Ankerplatten
- Ausgleichsstücke
- Geländerpfosten | Pfostenbefestigung
- Handlaufhalter
- Handlaufstützen
- Anschlussplatte
- Trägerstifte für Handlaufhalter
- Trägerbügel
- LED Edelstahl Handlauf
- Querstabhalter
- Rohrstopfen
- Pfostenkappen
- Klöpperböden Edelstahl
- Ronden
-
Rohrbögen
- Rohrbogen 90 grad (Schweißfittings Bauart 3 DIN)
- Rohrbogen 45 grad (Schweißfittings Bauart 3 DIN)
- Rohrbogen 180 grad (Schweißfittings Bauart 3 DIN)
- Rohrbogen 90 grad (Schweißfittings Bauart 2 DIN)
- Rohrbogen 90 grad (Schweißfittings Bauart 5)
- Rohrbögen Sonderwinkel Schweißfittings
- Eckstück 90 grad Schweißfittings
- T-Stück Schweißfittings
- Verbindungsstück Schweißfittings
- Kreuzstück Schweißfittings
- Steckverbindungen
- Zierteile
- Wandanker | Bodenanker
- Klemmprofil
- Glas- und Türsysteme
- Kugeln | Kegel | Würfel
- Edelstahlrohre | Stangenmaterial
- Nutrohre
- Steckfittinge / Endkappen Nutrohre
- Haus | Garten
- Torbau | Türschlösser | Türdrücker
- Edelstahlseile | Drahtseilklemmen | Zubehör
- Marine | Bootsbedarf
- Zubehör | Schrauben | Kleber
- Messebau
- Black Lane - Pulverbeschichtete Edelstahl Teile
- Glasschiebetür
- BRENK-fix® Grundhalter
-
Schmiedeeisen
- Kappen
- Ankerplatten
- Anschweißbänder
- Anschweißlaschen
- Barockprogramm
- Buchstaben
- Einschlagstopfen
- Klöpperböden Stahl Roh
- Handlaufhalter + Zubehör
- Hausnummern
- Kugeln
- Kunststoffhandläufe
- Ringe | Kreuze
- Ronden
- Schlösser | Türgriffe | weiteres Zubehör
- Stangenmaterial
- Rohrbogen
-
Torbänder
- Torband mit Einschweissmuffe
- Torband mit Langlochlasche
- Torband mit langem Gewinde
- Torbänder 4-fach verstellbar
- Selbstschließende Torbänder
- Gewindehülsen für Torbänder – Ersatz & Zubehör
- mit Anschweißplatte
- Hebetorbeschläge
- Einstellbare Mauerplatten für Torbänder
- Messingscheiben für feuerverzinkte Torbänder
- Augenschrauben einzeln für Torband
- zum Einbetonieren
- mit Winkellasche
- mit Mauerplatte
- Zaunspitzen
- Zaunstäbe
- Zierstäbe
- Schmiedelack und Farben
- Schmiedekunst Basic Line
-
Gitterroststufen
-
Gitterroste
-
Marine | Bootszubehör
-
Schiebetorbeschläge
- Schiebtorbeschlag 0 | Torgewicht je Torflügel bis 90 kg
- Schiebtorbeschlag 1 | Torgewicht je Torflügel bis 200 kg
- Schiebtorbeschlag 2 | Torgewicht je Torflügel bis 400 kg
- Schiebtorbeschlag 3 | Torgewicht je Torflügel bis 600 kg
- Schiebtorbeschlag 4 | Torgewicht je Torflügel bis 1200 kg
- Schiebtorbeschlag 5 | Torgewicht je Torflügel bis 2000 kg
- Komplettsortiment
- Alle Größen passend 1 bis 5
- Gussrollen für Schiebetore
- Neuheiten
- Leuchtreklame
-
Verschlussstopfen und Schutzkappen
- Metallbauer Deals
Filtro
Disponible, : Lieferzeit 5-10 Werktage
Disponible, : Lieferzeit 5-10 Werktage
Disponible, : Lieferzeit 5-10 Werktage
Disponible, : Lieferzeit 5-10 Werktage
Disponible, : Lieferzeit 5-10 Werktage
Disponible, : Lieferzeit 5-10 Werktage
Disponible, : Lieferzeit 1-2 Werktage
Disponible, : Lieferzeit 5-10 Werktage
Disponible, : Lieferzeit 1-2 Werktage
Disponible, : Lieferzeit 5-10 Werktage
Disponible, : Lieferzeit 1-2 Werktage
Disponible, : Lieferzeit 1-2 Werktage